Imaging
Fingerprint Imaging is challenging enough as a practice, you should use equipment and software that helps, not hinders.

Product Description
Our broad range of products in Fingerprint Imaging, Fingerprint Image Enhancement and Comparison include all solutions for the laboratory and the crime scene to digitally capture prints, enhance them with innovative optical and software tools, and extract minutiae for side by side comparisons and case presentations. Universal Imaging Systems (UIS) include all components for both optical and software enhancement.
​
ImaQuest Digital Image Enhancement Suite
Designed originally for Fingerprints, the ImaQuest Digital Image Processing Suite is the most comprehensive package of its kind, including the ability to: secure, scale, enhance, track, compare, chart, and print work from multiple investigators and multiple sources.
The ImaQuest Digital Image Processing Suite is the heart of the SPEX Forensics UIS – Universal Imaging System. SPEX Forensics has advanced latent print processing to new levels by incorporating a brand new, Ultra-High Definition Digital camera with Full Spectrum capability including the ability to capture prints using RUVIS. Now latent prints can be digitally captured and processed without ever having to apply various forms of treatment. All smooth non-porous surfaces can now be examined; photographed and digitally processed using this system and best of all, every photo captured retains its original image chain of custody.
Another advantage of using ImaQuest and the new UIS, is the removal of the background effect caused by the reflected UV light. This issue might be a problem later during the processing of your photos. When using the system you can quickly and easily make some basic enhancements to see if you can remove those phenomena. If you are unsuccessful, you can immediately move the light and capture a new image.
​
Automatic Tracking of Images
ImaQuest automatically records and tracks all intermediate steps and the full sequence of images can be saved in a single file. This record of all enhancement detail can also be saved and exported as a text file for your case jacket or court presentation. ImaQuest features a live view Image Background Subtraction and the easiest to use live view FFT. You have never used an FFT like this before! ImaQuest is everything you always wanted in fingerprint enhancement software and a whole lot more.
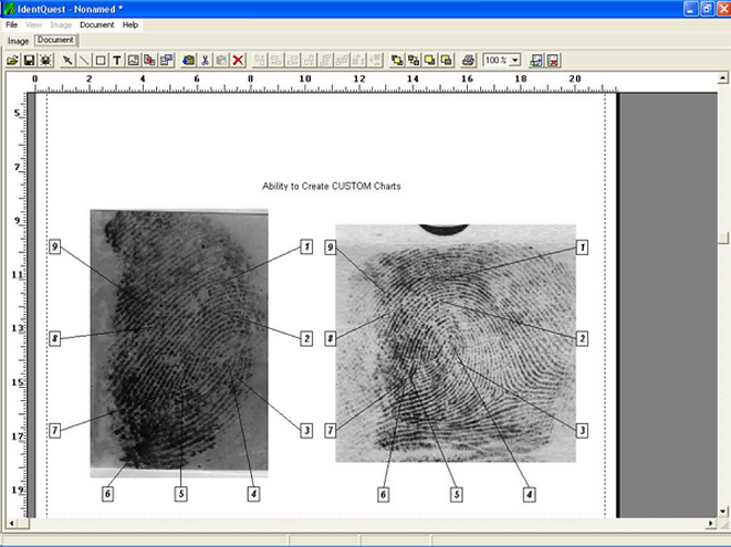
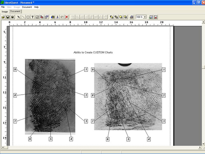
Additionally, ImaQuest has a built in documentation and charting system called IdentQuest, which automatically matches known and unknown images. This Digital Comparator automatically extracts and compares minutiae points between the two images. IdentQuest will then chart the points from the comparison either automatically and/or manually. Then digitally pastes the results into a free form document which can be customized for your own agency.
​
Instead of using multiple softwares, ImaQuest can take you from capturing evidence to charting your results – with all your enhancement in between.
​
ImaQuest Fingerprint processing solution allows the removal of fluorescent backgrounds, boost prints and removes periodic backgrounds with FFT, and features a broad range of digital filters to process the prints. ImaQuest tracks all changes made automatically and features a unique format which records the original image and all mathematical treatments applied to the image.
IdentQuest is a module included in ImaQuest and features automated extraction of minutiae and manual selection of points and features on two prints, side by side. This allows you to scan the reference fingerprint from a tenprint card and IdentQuest will Digitally Compare the images.

Chart the points from the comparison and digitally paste into a free form document that can be designed and configured for your own department. Save templates for future use. Print any chart, image, or history to any installed and configured printer.



